DIK-652A 手動式フィールドポンプ


主な特長
電源不要でどこでも使えるシンプルで耐久性の高い地下水・汚染水採取用ポンプです。手動でハンドルを回すことで、柔軟なチューブ内の液体を押し出す方式を採用し、サンプルの汚染リスクを最小限に抑えます。
電源の無い場所、電気が使えない場所での、採水に最適です。
ハンドルはベアリングが付いていて楽に回す事ができ、最大8mの深さから水を採取することができます。
このポンプは3個の圧力ローラーを使用した簡単な構造ですが、非常に長持ちするポンプです。
【土壌水分・硬度計は大起理化工業】
| 仕 様 | |
|---|---|
| 外形寸法 | 本体 W130×D100×H120mm (ハンドル含まず) |
| スタンド | 直径12mm×1m (材質:ステンレス製) |
| 採水量 | 220ml/min (揚程約8m地点) |
| 重 量 | 約2Kg (スタンド含む) |

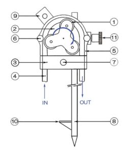
各部名称
① ローラー
② カバープレート
③ チューブ押さえ金具
④ ローター用シリコンチューブ
(DIK-650B-C2)
φ6mm×φ10mm×L400mm(5本1組)
⑤ ポンプハウジング
⑥ カバープレート押さえネジ
⑦ 押さえ金具止めローレットネジ
⑧ 支柱
⑨ ハンドル
⑩ 足踏み板
⑪ ローレットネジ
Q&A
Q;濁水でも採取できますか?
A;採取可能です。
Q;製品を購入したい場合はどちらに問い合わせすればいいのでしょうか?
A;各地区にございます販売店や、製品のお問い合わせフォームからご連絡をお願いいたします。
